改進型格子型球磨機排礦裝置
創(chuàng)建時間 2015-08-20 作者 球磨機 瀏覽
QQ留言
聯(lián)系電話:13803857310
改進型排礦裝置背景:
格子型球磨機用來粉磨各種礦石及其他物料,被廣泛地應用于選礦、建筑及化工工業(yè)等國民經濟各部門。此類球磨機的出料端中心圓盤是用格子板扣壓在端蓋上,格子板再用方頭螺釘固定在出料端蓋上,格子板和中心圓盤之間存在較大摩擦力,使用一段時間之后,格子板和中心圓盤均會產生一定磨損,造成兩者之間的間隙逐漸增大,直至中心圓盤脫落,出現設備故障,停機維修,既浪費材料又影響生產。
改進型排礦裝置結構:

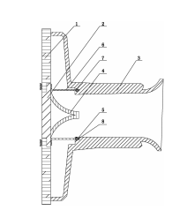
一種改進型格子型球磨機排礦裝置,包括格子板和中心襯板,格子板按壓在球磨機端蓋上,端蓋上設有中空的軸頸,中心襯板中間位置設有喇叭形導料柱,軸頸靠近格子板一端的端面上設有凹槽,中心襯板上垂直設置連接桿,連接桿連接環(huán)形固定片,環(huán)形固定片嵌入凹槽內,環(huán)形固定片內、外表面與凹槽之間分別設置滾珠,中心襯板與格子板通過螺栓固定。
改進型排礦裝置優(yōu)勢:
結構簡單、使用方便,格子板轉動時帶動中心襯板一起旋轉,中心襯板旋轉過程中與軸頸端面通過滾珠產生滾動摩擦,大大減小中心襯板與格子板之間的摩擦力,磨損率低,使用周期長,降低了維修工作量和維修費用,提高了格子型球磨機的有效使用率和生產效率。
推薦閱讀:圖文解說格子型球磨機排礦特點

